颁布功夫:2021-10-26点击:15838
硬度是指资料抵抗部门变形,出格是塑性变形、压痕或划痕的能力。它是衡量资料软硬的指标。维氏硬度、布氏硬度、洛氏硬度对照表分享给你,快珍藏起来吧!
常用HV=HB=HRC硬度对照表




本表数据来自德国尺度DIN50150。
是指资料抵抗部门变形,出格是塑性变形、压痕或划痕的能力。它是衡量资料软硬的指标。
按测试步骤的分歧,硬度分为三种类型。
①划痕硬度。重要用于比力分歧矿物的软硬水平,步骤是选一根一端硬一端软的棒,将被测资料沿棒划过,凭据出现划痕的地位确定被测资料的软硬。定性地说,硬物体划出的划痕长,软物体划出的划痕短。
②压入硬度。重要用于金属资料,步骤是用肯定的载荷将划定的压头压入被测资料,以资料表表部门塑性变形的大幼比力被测资料的软硬。由于压头、载荷以及载荷持续功夫的分歧,压入硬杜仔多种,重要是布氏硬度、洛氏硬度、维氏硬度和显微硬度等几种。
③回跳硬度。重要用于金属资料,步骤是使一特造的幼锤从肯定高度自由着落冲击被测资料的试样,并以试样在冲击过程中贮存(继而开释)应变能的几多(通过幼锤的回跳高度测定)确定资料的硬度。
金属资料***常见到的布氏硬度、洛氏硬度和维氏硬度属于压入硬度,硬度值暗示资料表表抵抗另一物体压入时所引起的塑性变形的能力;回跳法(肖氏、里氏)丈量硬度,硬度值代表金属弹性变形职能的大幼。
布氏硬度 Brinell Hardness用直径D的淬火钢球或硬质合金球作压头,以相应的试验力F压入试件表表,经划定的维持功夫后,卸除试验力,得到一向径为d的压痕。用试验力除以压痕表表积,所得值即为布氏硬度值,符号用HBS或HBW暗示。

HBS和HBW的区别是压头的分歧。HBS暗示压头为淬硬钢球,用于测定布氏硬度值在450以下的资料,如软钢、灰铸铁和有色金属等。HBW暗示压头为硬质合金,用于测定布氏硬度值在650以下的资料。
同样的试块,当其它试验前提齐全一样的情况下,两种试验了局分歧,HBW值往往大于HBS值,并且并无定量的法规所循。
2003年以来,我国已经等效选取国际尺度,取缔了钢球压头,全数选取硬质合金球头。因而HBS终场使用,全数用HBW暗示布氏硬度符号。好多时辰布氏硬度仅用HB暗示,指的就是HBW。不外在文件论文中HBS仍时有所见。
布氏硬度丈量法合用于铸铁、非铁合金、各类退火及调质的钢材,不宜测定太硬、太幼、太薄和表表不允许有较大压痕的试样或工件。
洛氏硬度 Rockwell Hardness用锥顶角为120°的金刚石圆锥或?1.588mm和?3.176mm淬火钢球作压头和载荷共同使用,在10kgf初载荷和60、100或150kgf力总载荷(即初载荷加主载荷)先后作用下压入试样,在总载荷作用后,以卸除主载荷而保留主载荷时的压入深杜纂初载荷作用下压入深度之差来暗示硬度。

洛氏硬度试验选取三种试验力,三种压头,它们共有9种组合,对应于洛氏硬度的9个标尺。这9个标尺的利用涵盖了险些所有常用的金属资料。常用的有HRA、HRB和HRC三种,其中HRC利用***广。

HRC标尺的使用领域是20~70HRC。当硬度值幼于20HRC时,由于压头的圆锥部门压入太多,活络度降落,这时应改用HRB标尺;当试样硬度大于67HRC时,压头尖端接受的压力过大,金刚石容易败坏,压头寿命会大大缩短,因而通常应改用HRA标尺。
洛氏硬度试验操作轻便、迅速、压痕幼,可测试制品表表及较硬、较薄的工件。因压痕幼,对于组织和硬度不均匀的资料,硬度值颠簸较大,正确性不如布氏硬度高。洛氏硬杜酌于测定钢铁、有色金属、硬质合金等的硬度。
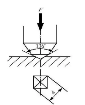
维氏硬度 Vickers Hardness维氏硬度丈量道理与布氏硬度类似。选取相对面夹角为136°金刚石正四棱锥压头,以划定的试验力F压入资料的表表,维持规按功夫后卸除试验力,用正四棱锥压痕单元表表积上所受的均匀压力暗示硬度值,标记符号为HV。

维氏硬度丈量领域大,可丈量硬度为10~1000HV领域的资料,压痕幼,通常用来丈量较薄的资料和渗碳、渗氮等表表硬化层。
里氏硬度 Leeb Hardness用肯定质量的装有碳化钨球头的冲击体,在肯定力的作用下冲击试件表表,而后反弹。由于资料硬度分歧,撞击后的反弹速度也分歧。在冲击装置上装置有永磁资料,当冲击体高低活动时,其表围线圈便感应出与速度成正比的电磁信号,再通过电子线路转换成里氏硬度值,符号象征为HL。
里氏硬度仪无需工作台,其硬度传感器幼如一只笔,可用手直接操作,无论是大、重型工件还是几何尺寸复杂的工件都能容易地检测。
里氏硬度另表一个利益是对产品表表危险很轻,有时可作为无损检测;对各个方向,窄幼空间及特殊部位硬度测试拥有独个性。
起源:金属资料的世界
免责申明:本站部门图片和文字起源于网络网络整顿,仅供进建互换,版权归原作者所有,并不代表我站概想。本站将不承担任何司法责任,若是有加害到您的权势,请实时联系凯发一触即发删除。